Фиксаторы для весел
Два простых приспособления, которые я применил на своей «Казанке-2М», предохраняют весла от падения за борт и позволяют надежно закреплять их в походном положении.
Пружинный стопорный шплинт 1, согнутый из стальной проволоки диаметром 3 мм и вставляемый в отверстие, просверленное в уключине 2, препятствует выскакиванию ее из гнезда. Стопор несложно освободить, когда весло необходимо снять с лодки, а чтобы он не потерялся, его следует привязать леской 3 к шпангоуту.
Пружинная защелка 5 служит для крепления весла 4 по-походному. Под штырь защелки в лопасти нужно просверлить отверстие диаметром 8,5 мм. Угольник защелки приклепывается парой алюминиевых заклепок к палубе лодки.
Думаю, что оба эти приспособления будут полезны и на лодках других типов.
Два совета владельцам моторок
В сборнике №63 приводился эскиз крепления спасательного круга на носовой палубе моторки. Мне кажется, удобнее хранить круг внутри лодки, например, на левом борту в простейшем гнезде из дюралюминиевой планки с отогнутыми концами. Круг здесь никому не мешает, всегда под рукой и закрыт тентом на стоянке (правда, на нашем «Прогрессе» четвертое сиденье мы не используем — так что в лодке просторно).
После двух лет эксплуатации тент начал пропускать воду над подмоторной нишей. Видимо, водоупорная пропитка ткани здесь истерлась при многочисленных запусках мотора — ведь его не заведешь, не коснувшись или даже не оперевшись на уложенный здесь тент. Чтобы предохранить ткань, достаточно покрыть скатку тента полиэтиленовой пленкой и завязать ее в двух местах. Дела — минута, зато тент дольше сохранит свою водонепроницаемость.
Блок со стопором
Для проводки ходового конца гика-шкота «снизу» и стопорения его на крейсерском швертботе автором применен блок с эксцентриковым зажимом, закрепленным на палубе кокпита в вертлюге с вертикальной осью вращения. Это устройство несколько отличается от известных мне аналогичных конструкций и более удобно в эксплуатации.
На одной оси смонтированы два шкива и между ними — серьга для крепления коренного конца гика-шкота. Ось расположена эксцентрично относительно оси вращения вертлюга, а соединение обоймы блока с вертлюгом сделано быстроразъемным. Щель между основанием вертлюга и его поворотной частью надежно защищена от попадания в нее пыли и песка с палубы кокпита промасленной фетровой прокладкой.
Такая конструкция блок-стопора обеспечивает компактную проводку гика-шкота (через двушкивный блок на ноке гика) в четыре лопаря с тягой «снизу», которая очень удобна при пользовании патент-рифом и дает достаточный выигрыш в силе для управления парусом площадью до 20 м2. При перемене галса блок автоматически разворачивается так, что ходовой конец гика-шкота оказывается направленным в сторону наветренного борта, что важно при плавании на швертботе.
Стопорение ходового конца гика-шкота в эксцентриковом зажиме осуществляется автоматически при его ослаблении, а отдача — ударом ноги по натянутому ходовому концу гика-шкота (или рывком руки), при котором гика-шкот выбрасывается из зажима.
Амортизатор для подвесного мотора
При наезде на препятствие мотор под действием удара отбрасывается назад, двигатель при этом идет «вразнос».
Для предотвращения работы мотора на повышенных оборотах я использую несложное приспособление. Силу удара при наезде принимает на себя резиновый амортизатор, который позволяет дейдвуду отклоняться от транца судна только на угол, необходимый для пропуска препятствия, после чего, сжимаясь, сразу же возвращает дейдвуд на место. Срабатывание происходит за доли секунды, мотор не успевает набрать повышенных оборотов.
Приспособление состоит из стропки 1, изготовленной из круглого резинового амортизационного шнура диаметром 10—13 мм и охватывающей дейдвуд с небольшой слабиной. На концы стропки заделываются специальные коуши, к которым крепится трос 2. Трос этот проходит через ролик 3, прикрепленный скобой 5 к килю лодки, и заканчивается крюком 4, который закладывается за ось подвески мотора или за кромку транца.
Можно конструкцию упростить, закрепив коуши амортизатора скобой на киле, но в этом случае на длительных стоянках мотор откидывать на защелку будет невозможно.
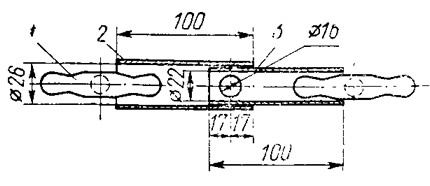
Замок для «Вихря»
На своем моторе «Вихрь» уже несколько лет я пользуюсь приспособлением для запирания струбцин, удобным и, на мой взгляд, наиболее простым по конструкции. Оно состоит из двух трубок из нержавеющей стали (длиной по 100 мм — для моторов «Вихрь»). Трубки наружными концами надеваются на рукоятки струбцин и при совмещении поперечных отверстий в них вставляется дужка навесного замка. Более удобно при этом использовать тросовый замок.
На эскизе обозначены: 1 — рукоятка струбцины; 2 — трубка наружная 30X2; 3 — трубка внутренняя 25X1,5.




