- 1. Какие конструктивные размеры и какую профилировку должны иметь подводные крылья?
- 2. Какие элементы должен иметь гребной винт?
- 3. Какую скорость сможет развить байдарка «Таймень» с мотором «Салют»?
Вопрос, поднятый тов. Михеевым — оборудование байдарки с подвесным мотором «Салют» подводными крыльями, имеет достаточно сложное техническое решение. Думаю, что любителям водного спорта и туризма будет интересно познакомиться с основными проблемами, которые встают на пути человека, поставившего себе подобную задачу.
Ограниченная мощность ПМ «Салют» позволяет вести речь только о подводных крыльях для одноместной байдарки «Таймень». Длина этой лодки 4,05 м, ширина 0,75 м, высота борта 0,25 м и масса 19 кг.
Характеристики мотора «Салют»: максимальная мощность Nе=2 л.с.; частота вращения nд=5000 об/мин; передаточное отношение редуктора i=6:11; частота вращения гребного винта n=45,4 об/с, масса 12 кг
Штатный двухлопастной гребной винт, поставляемый с мотором, имеет диаметр D=0,14 м; шаг Н=0,12 м; шаговое отношение H/D=0,86.
Для определения элементов подводных крыльев и проверки пригодности штатного гребного винта необходимо оценить состояние нагрузки байдарки в расчетном режиме — при ходе на крыльях (кг): байдарка — 19, мотор «Салют» — 12, топливо — 2, подводные крылья — 8, подкрепления корпуса — 4, водитель — 75, всего — 120.
Данная нагрузка может рассматриваться как минимальная. Верхний предел нагрузки может быть установлен на ходовых испытаниях лодки. Скорее всего, лодка сможет выйти на ПК при общем весе 150—160 кг.
Воспользовавшись осредненным значением обратного гидродинамического качества большого числа крылатых катеров, рассчитаем кривую сопротивления воды движению байдарки (рис. 1, табл.).

Гребной винт мотора «Салют», имеющий тягу на швартовах всего около 20 кгс и рассчитанный на скорость не более 10 км/ч, будет непригоден для данной байдарки на крыльях, скорость которой может достичь 18—26 км/ч. Придется изготовить новый винт диаметром D=0,15 м. Такое увеличение диаметра представляется вполне допустимым. Коэффициенты взаимодействия для гребных винтов, работающих с подвесными моторами, могут быть приняты равными: коэффициент попутного потока w=0,025, коэффициент засасывания t=0,045, коэффициент влияния корпуса ηк=0,98.
Полученные в результате выполненного расчета гребные винты имеют следующие основные элементы:
| I вариант | II вариант | |
| Диаметр D, м | 0,15 | 0,15 |
| Шаг H, м | 0,195 | 0,180 |
| Шаговое отношение H/D | 1,30 | 1,20 |
| Дисковое отношение A/Ad | 0,30 | 0,35 |
| Число лопастей z | 2 | 3 |
Паспортная диаграмма двухлопастного гребного винта представлена на рис. 2; диаграмма трехлопастного винта имеет аналогичный характер и поэтому здесь не приводится. Эти диаграммы показывают, что наибольшая достижимая скорость хода байдарки «Таймень» с мотором «Салют», поставленной на ПК, может составить около vк = 27 км/ч = 7,5 м/с.
Каждое крыло будет воспринимать около половины всей нагрузки лодки, т. е. Yн≈60 кг. Коэффициент подъемной силы носового крыла, для повышения скоростных и мореходных качеств байдарки, в том числе и при выходе на крылья, целесообразно принять равным около Cy=0,22. При этом площадь носового подводного крыла составит

где ρ=102 кг·с²/м4 — массовая плотность пресной воды.
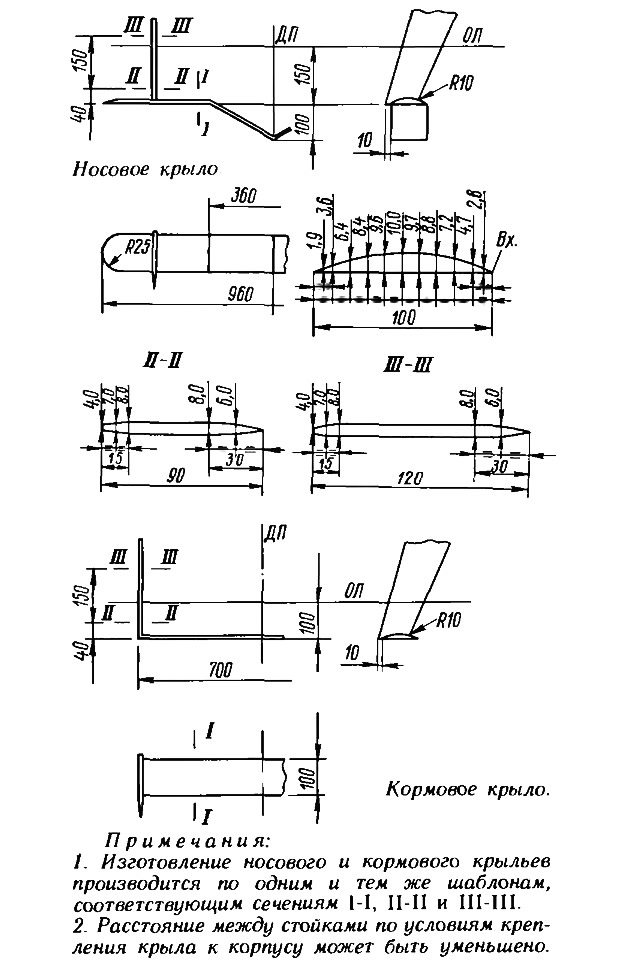
Приняв размах носового крыла равным lн=0,96 м, что позволит обеспечить достаточную поперечную остойчивость, получим хорду крыла bн=0,10 м. Удлинение носового крыла при этом составит λн=9,6. При таком удлинении гидродинамическое качество крыла на всех режимах движения снижается незначительно.
Коэффициент подъемной силы кормового крыла рекомендуется принять примерно на 40% выше, чем носового: Cун=0,30. Соответствующая площадь кормового крыла будет равна

При хорде кормового крыла также bк=0,10 м размах составит lк=0,70 м и удлинение λк= 7.
В качестве прототипа для разработки крыльевой схемы байдарки «Таймень» воспользуемся данными по крыльям небольшой пластмассовой моторной лодки «Л-3» («Катера и яхты», 1964 г., №3). Оба крыла — малопогруженного типа. В носовое крыло, для частичного уменьшения влияния свободной поверхности воды и улучшения мореходности, целесообразно включить килеватый глубокопогруженный элемент типа «чайка». Кормовое крыло может быть плоским или иметь небольшую килеватость порядка 2—4°. Расстояние между крыльями следует принять около 2,5 м. Исходные высоты стоек от основной линии ориентировочно могут составлять для носового крыла около hн=0,15 м, для кормового — hк=0,10 м (рис. 3 и 4).
Наиболее подходящим материалом для изготовления подводных крыльев является алюминиево-магниевый сплав типа АМг-5В. При малом весе этот сплав обладает достаточной прочностью, хорошо сваривается, относительно легко обрабатывается и полируется. Технологические рекомендации по изготовлению подводных крыльев содержатся в упомянутой статье.
Одним из самых важных вопросов является крепление подводных крыльев к корпусу байдарки «Таймень». Без надежного решения этого вопроса установка крыльев потеряет смысл. Крепление должно быть достаточно жестким, чтобы исключить непредусмотренное самопроизвольное изменение углов атаки вследствие как местной деформации корпуса, так и общего прогиба байдарки при ходе на крыльях, когда она представляет собой в сущности балку, поставленную на две опоры с пролетом 2,5 м.
Вместе с тем крепление должно позволять легко изменять углы установки крыльев как на стоянке в процессе доводки, так и на ходу в зависимости от скорости, состояния погоды и других обстоятельств. Это позволит всегда выбирать оптимальные углы атаки крыльев при преодолении горба сопротивления и на максимальной скорости хода, что очень важно при весьма ограниченной мощности мотора «Салют». Желательно также иметь возможность изменять на испытаниях высоту стоек крыльев. Естественно, что крепление крыльев не должно нарушать водонепроницаемость корпуса и не должно быть очень сложным и чрезмерно увеличивать массу байдарки.
Осуществление этих условий крепления крыльев затрудняется тем, что байдарка «Таймень» имеет каркасный корпус ограниченной жесткости с мягкой обшивкой и плавно подрезанные штевни.
После установки подводных крыльев необходимо провести их испытания и доводку с целью выбора оптимальных углов атаки, обеспечивающих наиболее легкий выход на крылья и наибольшую скорость хода. Параллельно выбирается высота крыльевых стоек, проверяется пригодность одного из предложенных вариантов гребного винта и устанавливаются пределы нагрузки байдарки, при которых возможно движение на крыльях.
Для проведения испытаний необходимо на защищенной от ветра и волны акватории, где нет сильного течения, разметить мерную линию длиной 100—150 м с достаточными участками для разгона.
Доводочные испытания проводятся путем последовательного изменения углов установки крыльев. При этом если наблюдаются затруднения с выходом на крылья, то углы установки крыльев — одного или обоих сразу — надо увеличивать. Если же после выхода на крылья происходит оголение верхней (засасывающей) поверхности крыла, то угол установки этого крыла следует несколько уменьшить. Аналогично изменяют угол установки одного из краев крыла при наличии постоянного крена.
На полном ходу мотор должен иметь некоторый запас по частоте вращения. Это облегчит преодоление «горба» сопротивления и ускорит выход на крылья. В случае, если мотор не будет развивать полных оборотов, гребной винт необходимо гидродинамически облегчить путем уменьшения шага. Уменьшение диаметра винта в данном случае не рекомендуется, так как он и без того очень мал.
Величина необходимого изменения шага ΔH в мм для данного гребного винта с мотором «Салют» в процессе ходовых испытаний может быть найдена по следующей приближенной формуле:

где Δn — величина желательного повышения или уменьшения частоты вращения мотора «Салют».



