Основные данные швертбота "Чиж-2"
| Длина, м: | |
| наибольшая | 3.37 |
| по КВЛ | 2.65 |
| Ширина, м: | |
| наибольшая | 1.53 |
| по КВЛ | 1.20 |
| Высота, м: | |
| борта миним. | 0.50 |
| надводн. борта | 0.37 |
| Осадка корпусом/швертом, м | 0.13/0.83 |
| Масса с рангоутом, кг | 75 |
| Площадь парусности, м2: | |
| грот | 5.5 |
| стаксель | 2.0 |
| спинакер | 5.0 |
| Допустимая мощность ПМ, л.с. | 5 |
Проект адресуется в первую очередь коллективам судостроителей-любителей, но, как показывает опыт, его могут построить и одиночки в домашних условиях из легкодоступных материалов отечественного производства.
Первая попытка постройки по своим чертежам небольшого парусного судна, пригодного для обучения, отдыха и туризма, была предпринята мной еще в 1987-1988 гг. Тогда я построил фанерный швертбот "Ленсе" (см. "КиЯ" №169). Парусник получился удачным, для своих размерений достаточно мореходным, остойчивым и вместительным. Очень часто я ходил на нем в одиночку по Кубенскому озеру. Затем этот швертбот использовался для начального обучения парусному делу в детском оздоровительном центре "Кедр". С этого судна началось зарождение парусного спорта в пос. Шексна, так что его можно назвать "дедушкой парусного флота" нашего поселка.
Подтолкнул меня к продолжению работы такой случай. Осенью 1999 г. мы с ребятами пошли в однодневный поход на двух "Кадетах" без сопровождения спасательного судна. Дул довольно свежий ветер. Один швертбот перевернулся, когда мы подходили к противоположному берегу водохранилища, а другой — когда уже возвращались домой. Тогда чуть было не утопили все походное снаряжение, которое невозможно нормально разместить в швертботах класса "Кадет". В аналогичных условиях "Ленсе" шел без происшествий. Так я убедился, что мой швертбот лучше приспособлен для туризма, более мореходен и остойчив, чем эти спортивные яхты. В то же время наряду с достоинствами обнаружился и ряд мелких недостатков швертбота, которые требовалось устранить в следующем проекте.
После этого похода было принято решение спроектировать и построить новый спортивно-туристский швертбот, лишенный недостатков всех опробованных нами судов. Он и получил название "Чиж-2".
За основу был взят построенный двумя годами раньше в том же детском центре "Кедр" по чертежам из журнала "Катера и яхты" (конструктор Д. А. Курбатов) "Чиж" (см. №164). В процессе эксплуатации мы убедились в его отличных ходовых качествах, так что было решено применить обводы "Чижа" и в новом проекте.
Таким образом "Чиж-2" объединил в себе достоинства швертботов "Лен-се" и "Чиж". В 2001 г. по заказу детского оздоровительного лагеря "Янтарь" были построены первые три швертбота (см. статью "Вера, Надежда, Любовь" в №181). Яхточки получились и удобными в эксплуатации, и достаточно надежными, хорошо ходят в лавировку.
В прошлом году по проекту "Чиж-2" я построил швертбот для себя и назвал его "Стерх". Паруса — грот и стаксель — пошиты из лавсана на петербургской фирме "Северное сияние". В том же году я начал тренироваться на "Стерхе" в нашем яхт-клубе и несколько раз гонялся со швертботами класса "Кадет". Чаще всего дистанцию первым проходил "Чиж-2". Конечно, площадь парусности у него больше, чем у "Кадетов" (хотя "Чиж-2" еще не укомплектован спинакером), но он по КВЛ чуть короче и шире, да и экипаж его состоял в основном из двух взрослых.
С 6 по 10 июля на базе Шекснинского парусного клуба состоялась 5-я Шекснинская регата — второй этап "Кубка Северо-Запада" среди юношей (главный судья А. Ю. Чегуров). К нам приезжали команды из Владивостока, Санкт-Петербурга, Рыбинска, Волгограда, Пскова, Новгорода, Москвы, Екатеринбурга и даже Узбекистана. В гонках принимали участие швертботы классов "Оптимист", "Кадет", "Луч-М" и "Луч".
В пяти гонках этой регаты я гонялся на "Стерхе" вне зачета с яхтами класа "Кадет". По результатам проведенных гонок могу сказать, что наш шекснинский многоцелевой швертбот отлично себя зарекомендовал и полностью оправдал ожидания. Финишировал он стабильно в середине флота, уступая "Кадетам" новой модели "Марк-4" и отрываясь от яхт старой постройки.
Должен обратить особое внимание на то, что "Стерх" был построен из дешевых и легкодоступных материалов на "домашней судоверфи", да и вооружен далеко не гоночными парусами.
После гонок юные яхтсмены из ряда других команд попробовали ходить на "Чиже-2". Парусник им понравился: широкий кокпит позволял спокойно управлять судном, паруса большей площади быстрее разгоняли яхту, но, как было отмечено, угол лавировки оказался чуть больше, чем у хорошего "Кадета".
Зато во время прогулок на "Чиж-2" спокойно помещались трое взрослых. При необходимости прямо в кокпите мы ставили палатку. Для размещения запасов и туристского снаряжения имелись сухие объемистые рундуки. Вот поэтому проект "Чиж-2" можно адресовать и тем молодежным организациям, которые планируют не только гоняться, но ходить в походы и целевые экспедиции для изучения своего края.
После появления в "КиЯ" небольшой заметки о "Чиже-2" ко мне стали приходить письма с просьбой выслать чертежи. Заинтересовались проектом в первую очередь те, кто хочет построить лично для себя небольшое транспортабельное и в то же время универсальное парусное судно. Насколько мне известно, в настоящее время строятся "Чижи-2" в Челябинской и Ленинградской областях, в Краснодарском крае.
Мне кажется, что распространение этого проекта могло бы способствовать развитию парусного спорта — послужить основой для создания национального детско-юношеского класса. Не секрет, что в провинции (думаю, что и в центре) трудно найти спонсоров, которые спокойно выложили бы по 1.52 тыс. долл. за "Оптимиста" и 4.2 тыс. долл. за "Кадета". А людей "с руками", которые могут возглавить ребячьи коллективы по постройке флота, немало. И польза от этого будет большая.
Конструкция корпуса традиционна и ясна из эскизов. Стоит только добавить, что облегчать корпус в ущерб прочности и долговечности не следует. Наружная обшивка нарезается из фанеры толщиной 6 мм; соединения листов выполнены на внутренних подкладных планках шириной 70 мм. Настил банок, форшпигель, палуба и зашивки на шп. 1 и шп. 3 также сделаны из 6-мм фанеры. Зашивка транца выпилена из фанеры толщиной 10-12 мм; ставить ее (как и зашивку форшпигеля) лучше после установки бортовых и днищевых листов наружной обшивки, тщательно обрезав заподлицо края фанеры и концы деталей продольного набора. Подмоторная доска и стойка в ДП под нею ставятся по размерам мотора. Высота транца в районе мотора — также по его данным.
Все основные детали шпангоутных рамок нарезаются из сосновой доски толщиной 20-22 мм. Толщина фанерных книц и технологических креплений ("мух") по углам, снимаемых после установки и крепления обшивки, 4 мм.
Сборка корпуса производится в положении "вверх килем" на стапеле из двух фугованных досок 100x50 длиной 3.7 м. Особой тщательности требует подгонка швертового колодца между шп. 1 и шп. 2. При постройке корпуса применяются эпоксидная смола (или хороший водостойкий клей) и крепеж из нержавеющих материалов или с соответствующим покрытием.
После кантовки корпуса устанавливаются носовая палуба и настил банок, монтируется степс мачты, крепятся наружные привальные брусья, буртики и отделочные планки-накладки по краям палубы, транца и форшпигеля.
Места соединения палубы с бортами оклеены полосами стеклоткани на эпоксидке. Корпус изнутри пропитан горячей олифой (можно применить и эпоксидную смолу), снаружи пропитан эпоксидной смолой, разбавленной ацетоном, прошпаклеван, отшлифован, загрунтован и окрашен. В качестве блоков плавучести использован пенопласт, обшитый синтетической мешковиной. Крышки лючков и пайол 576x815 между шп. 2 и шп. 3 вырезаны из 6-мм фанеры. Пайол подкреплен двумя продольными рейками на расстоянии 80 мм от краев. В носовой кромке сделан вырез 32x17. Весла с лопастями 500x100x150 имеют длину 2200 мм.
Полезные советы по постройке и вооружению швертбота можно найти в "КиЯ" и литературе. См., например: "15 проектов судов для любительской постройки" (любое издание); "Справочник по катерам, лодкам и моторам"; книжку В. Перегудова "Парусные байдарки, катамараны, тримараны и надувные лодки", "Пионерская судоверфь "Ветрова" и брошюру Д. Курбатова "Парусный тузик 2.6 м" (ставшую, к сожалению, библиографической редкостью).
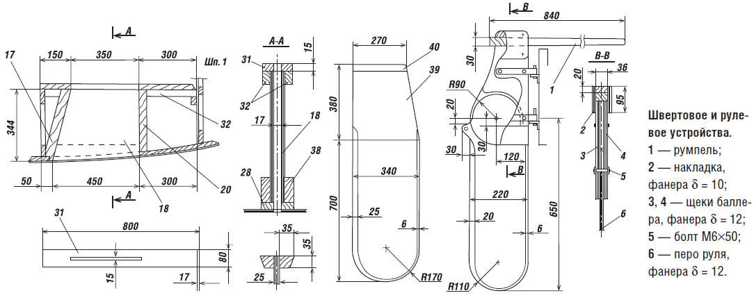
Спецификация деталей конструкции корпуса
1— плавник, 35x70x1450; 2 — кноп, δ=22; 3 — зашивка транца, δ=10; 4, 5 — обделка кромки транца, 10x22x360 и 17x22x240; 6 — рейка, 22x30x900; 7 — обшивка борта, δ=6; 8 — кница горизонтальная, 22x150x150; 9 — настил банок, δ=6; 10, 11 — опора настила, 25x25x1050, 25x25x620; 12 — комингс лючка, 10x40; 13 — привальный брус, 16x35; 14 — карленгс, 20x60x1630; 15 — бортовой стрингер, 18x25x2520; 16 — стыковая планка, 15x70; 17 — кормовая шпонка колодца, 17x38x380; 18 — стенка колодца, δ=6; 19 — подкрепление под вант-путенс, 20x50x170; 20 — носовая шпонка колодца, 17x38x310; 21 — степс, 40x80x70; 22 — рейка, 20x50x470; 23 — карленгс, 22x55x1110; 24 — накладка форшпигеля, 15x45x520; 25 — зашивка форшпигеля, δ=6; 26 — кница носовая, δ=22; 27 — скуловой стрингер, 18x40x3250; 28 — киль, 22x80x3030; 29 — бимс под степсом, 22x65x370; 30 — фальшкиль, 15x22x1120; 31 — планширь колодца, 15x80x790; 32 — рейка, 24x30x810; 33 — настил палубы, δ=6; 34 — обшивка днища, δ=6; 35 — фальшкиль, 15x22x2250; 36 — рейка, 20x30x750; 37 — фальшборт (ламинир.) по кормовому краю палубы, 20x22x700; 38 — основание колодца, 24x70x530; 39 — шверт, фанера δ=12; 40 — стопорная планка, 30x35.
Спецификация основных материалов
Для постройки швертбота потребуются: фанера, δ=5-6 (обшивка, палуба, банки) — 6 листов; фанера, δ=12 (обшивка транца, шверт, руль) — 1 лист; пиломатериалы (сосна на набор, рангоут, весла и др.) — 0.2 м3; эпоксидный клей — 4.5 кг; оцинк. крепеж (шурупы, болты, гайки) — 2 кг; стеклоткань — 10 м2; полиэфирная шпаклевка — 1.5 кг; лак — 0.5 кг; олифа — 1.5 кг; эмаль — 3.0 кг; уголки, полоски из нержав. стали 1.2-2.0 мм — 1 кг; синтетический тросик 06 и 08 мм.
Коротко об авторе
Игорь Юрьевич Стрелецкий (пос. Шексна) хорошо известен читателям "КиЯ" как энтузиаст детского парусного спорта и конструктор парусных судов. В 12 лет он построил свою первую лодку, очень напоминавшую ящик. Поскольку выход закончился падением в воду младшего члена экипажа, корабельная жизнь закончилась плохо: разгневанная бабушка капитана изрубила судно в щепки... На сегодня Игорем спроектировано и построено уже 23 судна, включая буер и парусную лыжу, а главное — под его руководством научились ходить под парусом более 300 ребят...













