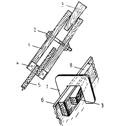
Простейшие прижимы для сборки лодки
При постройке лодок не обязательно надо иметь набор металлических струбцин, сложных по конструкции и дорогих. Даже в профессиональном мелком судостроении часто пользуются простыми прижимными приспособлениями — «клещами» и «цвинками». Клещи собирают из двух длинных брусков 1 с помощью болта 2. Усилие создается за счет клина 3, а чтобы концы клещей не изнашивались и не сминали деталей, их обивают кусочками кожи 4. Клещи хороши, например, для сборки наборной обшивки 5, когда требуется большой вылет струбцины.
При сборке и склейке многих деталей можно обойтись цвинками 7, вырезанными из толстой бакфанеры. Детали, например привальный брус 8 к обшивке 6, также прижимают с помощью клина 3.
Крепление ходовых огней
Крепление отличительных огней на судне — дело немаловажное. Особенно их трудно расположить на небольших парусниках: на рубке они плохо видны из-за низкого расположения над уровнем моря и, кроме того, периодически закрываются парусами; их окатывает забортной водой и, несмотря на герметизацию, огни выходят из строя.
Бортовые огни лучше всего закрепить к вантам при помощи простого приспособления. Корпус отличительного огня крепится болтами к щитку, который, в свою очередь, прикрепляется к вантам скобами или крючками. Этот способ позволяет расположить огни практически на любой высоте.
Кассета для карт
На лодках и катерах открытого типа обычно нет постоянного штурманского стола и очень неудобно, а во время дождя и просто невозможно пользоваться картами. Очень удобный выход из положения — кассета с полотнами карт, подобранных по переходам.
Кассета представляет собой герметичную коробку из листового металла с застекленным смотровым окном. Внутри кассеты находятся две деревянные катушки с тормозным устройством и прижимной пластиной.
Листы карт расчленяют по участкам пути и пришивают белыми нитками к полотняной ленте, которая затем наматывается на катушку; вращая приемную катушку, подводят необходимый участок пути под смотровое стекло, которое надежно защищает бумагу от дождя и ветра.
Амортизирующий привальный брус
Привальный брус на яхтенном тузике почти всегда ободран и побит, часто нуждается в замене. Кроме тою, всегда есть опасность поцарапать им окраску высокого борта яхты.
При очередной замене привального бруса прикрепите к нему полосу 1 толстой парусины шириной 100 мм, вложите в нее резиновый шланг 2 диаметром 25 мм (или несколько более тонких, скрепленных жгутом) и туго заверните парусиной так, чтобы ее край накрыл брус. Планширем 4 на шурупах 3 край парусины прочно закрепляется к привальному брусу. Парусина окрашивается под цвет борта лодки.
Валик экономит время
Большие и сравнительно ровные поверхности удобно окрашивать валиком. Однако прежде чем браться за валик, аккуратно окрасьте кистью (флейцем) стыки с деревянными деталями, покрытыми лаком, углы, лекальные участки, — т. е. все те места, где валиком трудно подобраться.
Окраску валиком начинайте с нескольких мазков крест-накрест, а затем растирайте их. Чтобы излишне не расходовать краску, много ее на валик не набирайте. Макнув нижнюю часть валика в краску, проведите им вперед и назад по решетчатой доске 7, а уже потом вынимайте из ведра.
Окрашенная валиком поверхность не будет гладкой. Поэтому красить валиком обшивку, особенно подводную часть, можно, только нанося первые два слоя; затем надо зашлифовать неровности мелкой наждачной шкуркой и заключительный слой краски нанести кистью.
Валик нетрудно изготовить самому.
Вырезанный из поролона валик 6 надевается на ось из трубки, которая, в свою очередь, фиксируется стопорными шайбами 1 на изогнутом проволочном рычаге 5. Теперь осталось насадить на рычаг ручку 4 от напильника или стамески. Для изготовления валика 7 годятся обрезки от синтетических дорожек, клочки искусственного меха (с коротким ворсом) и т.д., но в этом случае надо изготовить основание — деревянный валик 2, к которому клеем и приклеивается полоска облицовочного материала 3. Клей необходимо применить такой, чтобы он не растворялся растворителями краски.
Решетчатую доску сделайте из куска жести. Потратив время на изготовление валика зимой, вы будете экономить его каждую весну. Кстати, валики пригодятся и при ремонте квартиры.
Держатель для кисти
Рекомендуется во всех случаях не давать кисти глубоко погружаться в бачок с краской. С помощью небольшого кусочка листового металла можно сделать удобный держатель для кисти. Приколотите его двумя гвоздиками; он надежно удерживает кисть на краю бачка и одновременно препятствует прилипанию щетины кисти к его внутренней поверхности.
На всякий случай
В процессе работы по окраске судна нередко обнаруживаются различные мелкие дефекты подготовки поверхности, которые в силу тех или иных причин оказались не заделанными. В этом случае просто незаменимо очень простое приспособление — своеобразное хранилище для шпаклевки, замазки и т.п. Его легко изготовить из кусочка жести; оно подвешивается к бачку с краской.







